
? 煙臺開發區龍海起重工具有限公司銷售:BM型鷹牌 EAGLE CLAMP橫吊無傷鋼板夾鉗為日本進口產品,不劃傷鋼板不留咬痕,擁有5倍以上安全系數,使用壽命可長達7、8年。

BM型鷹牌 EAGLE CLAMP橫吊無傷鋼板夾鉗特點:
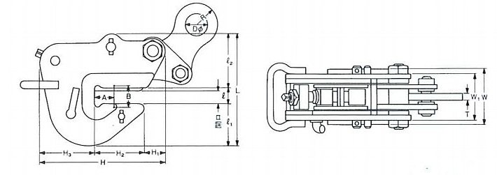
* BM型橫吊無傷鋼板夾鉗本體采用高強度鋼結構,具有抗裂紋的焊接結構;
* BM型橫吊無傷鋼板夾鉗齒板(鉗口配件)經感應淬火處理的特殊合金鋼制成,耐磨;
* BM型橫吊無傷鋼板夾鉗附帶螺旋式夾緊釋放裝置,附帶鎖擋凸輪。
* BM橫吊無傷鋼板夾鉗,同BMB橫向無傷鋼板夾鉗都屬于無痕鋼板夾具,不會對被吊物表面造成損壞不會留下痕跡。
BM型橫吊無傷鋼板夾鉗適用材料:鋼鋼結構,橋梁,鋼梁,鋼,扁鋼和型鋼,鋼造船,不銹鋼,包鋼,鋁等。

若遇到產品選型問題,可咨詢我公司人員,也可點擊鷹牌EAGLE CLAMP鋼板起重鉗更多產品可供選擇。
![]()
BM型橫吊無傷鋼板夾鉗為日本鷹牌EAGLE CLAMP原裝進口產品,保質1年,我公司承諾凡是客戶在我公司訂購的進口類產品均為原裝正品,絕不存在拆件貨,換件貨,假冒品牌產品,凡客戶從我公司訂購日本鷹牌EAGLE CLAMP產品如收到貨物時發現有拆件貨,換件貨,假冒、假貨仿貨均以100倍金額賠償。
產品選型:無傷鋼板夾具?