
? 煙臺開發區龍海起重工具有限公司銷售:FL-H型三木NETSUREN無傷鋼板夾具為日本原裝進口,水平無痕鋼板夾鉗,特殊合金鋼模壓鍛造和熱處理而成,安全系數高,使用壽命長。

三木NETSUREN FL-H型無傷鋼板夾具特點:
* FL-H型無傷鋼板夾具由特殊合金鋼制成并經過先進的加工和熱處理,具有很高的韌性。
* FL-H型無傷鋼板夾具夾緊力隨著負載的增加而成比例地增加,并強烈地擰緊懸掛的物體。
* FL-H型無傷鋼板夾具在鎖緊彈簧打開的情況下,將其咬入部件中并通過杠桿操作將其鎖定以完成安裝。
* FL-H型無傷鋼板夾具過載時,內置的帶齒安全凸輪會咬入部件并防止其滑動。
* FL-H型無傷鋼板夾具可以用于工作場所,例如鋼橋,不會損壞鋼板,H型鋼,角鋼等。
* FL-H型無傷鋼板夾具安全系數高,區別于普通鋼板夾鉗,平均使用壽命可達5-6年。

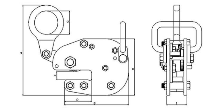
三木NETSUREN FL-H型無傷鋼板夾具分解圖:

![]()
FL-H型無傷鋼板夾具為日本三木NETSUREN原裝進口產品,保質1年,我公司承諾凡是客戶在我公司訂購的進口類產品均為原裝正品,絕不存在拆件貨,換件貨,假冒品牌產品,凡客戶從我公司訂購日本三木NETSUREN產品如收到貨物時發現有拆件貨,換件貨,假冒、假貨仿貨均以100倍金額賠償。
產品選型:無傷鋼板夾具?